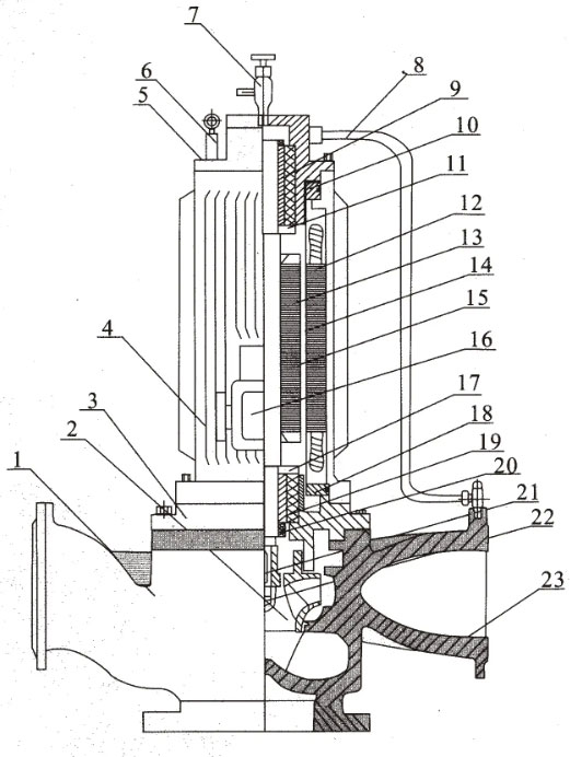
從屏蔽泵的結構剖面圖中可以看出屏蔽循環泵的零部件有二十多個,屏蔽式管道離心泵的主要零部件有葉輪、葉輪并帽、泵體、過濾網、鍵、電機、定子組件、轉子組件、定子屏蔽套和轉子屏蔽套等組成。屏蔽泵在安裝前需要仔細對泵體進行檢查工作,檢查屏蔽式管道泵的外觀有沒有明顯的碰傷與缺陷等。屏蔽泵安裝時管口的高度不能高于吸入口太多,選擇會影響泵的吸入性能。
	 
屏蔽泵的結構
	從上面的屏蔽泵的結構剖面圖可以看出,屏蔽泵的葉輪與電機轉子連接在一起,并且被裝在同一個密封的殼體中,屏蔽式管道泵不需要安裝任何的動密封裝置,會從根本上將泄漏的可能性有所消除,屏蔽泵尤其適用于含有易燃易爆、放射性、有毒等貴重液體的輸送。
	(1)屏蔽泵主要是由泵與電機組合在一起,其中轉子和定子的表面分別使用非磁性薄壁材料來進行包裹,轉子是由前導軸和后導軸支撐,被浸在泵送的介質當中。
	(2)泵與電機為一體化結構,電機與泵是同軸進行連接的。
	(3)轉子軸端一般裝有葉輪會形成沒有軸封的結構,可以做到沒有介質泄漏的輸送目的。
	(4)電機是利用定子和轉子之間的循環介質來對電機進行冷卻的,可以使用電機機座表面來進行冷卻。
	(5)定子內側與轉子外側是有屏蔽套的,而屏蔽套的內側與泵中相連接。
	
屏蔽泵的安裝
	(1)屏蔽泵的安裝方式可以是水平安裝,也可以是垂直安裝,用戶在安裝前需要查看泵的緊固部件是否出現松動,泵體的流道是否有雜物堵塞,防止造成屏蔽式管道離心泵的運行過程中出現葉輪與泵體的損壞。
	(2)為了避免有雜物或者異物進入泵中導致流路堵塞而對泵的使用性能造成影響,所以在泵的入口前安裝過濾器裝置。
	(3)進出水管的重量不能全部由泵體來支撐,安裝過程中不能在泵上增加管道的重量,屏蔽泵應該有獨立的支撐體,防止對泵的運行性能有所影響。
	(4)假如采用屏蔽泵進行熱水液體的泵送,為了確保泵可以承受管道的熱變形通常不需要固定底座的螺栓。管道系統由于受到熱脹冷縮過程中管道與泵會一起運動。
	(5)為了便于維護可以在進水口安裝閥門。為了安全使用與維護方便應該在進出口管道上安裝調節閥裝置,可以在進出口附近安裝壓力表裝置,來確保屏蔽泵在額定范圍中運行。一般會在出口處安裝閥門與止回閥,假如可以還需要在進口處安裝軟接頭。


 DG型中低壓高壓次高壓鍋爐給水多級離心泵
DG型中低壓高壓次高壓鍋爐給水多級離心泵 CHDF輕型臥式不銹鋼多級離心泵
CHDF輕型臥式不銹鋼多級離心泵 TSWA型臥式多級離心泵
TSWA型臥式多級離心泵
