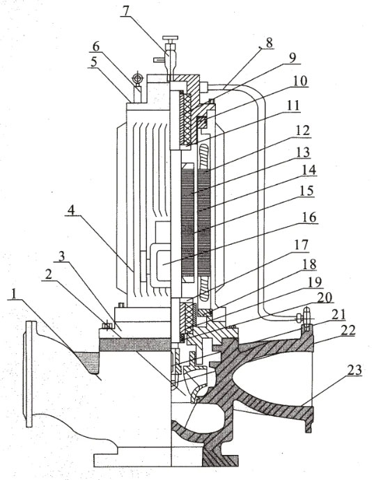
從屏蔽泵結構解剖圖可以看出PBG屏蔽泵是由二十多個零部件組成的,屏蔽式管道離心泵的主要零部件分別有葉輪、葉輪并帽、泵體、轉子組件、定子組件、接線盒、循環水管、鍵、過濾網等等組成。
屏蔽泵結構解剖圖
	 
屏蔽泵結構特點
	屏蔽式管道離心泵是本公司針對市場上水泵普遍噪音高振動大等弱點,新研發的一種新型屏蔽泵。對屏蔽式管道泵與電機進行了一體化設計,泵腔與電機組成一個密封整體,解決了由于密封損壞而引發的泄漏問題,可以確保液體介質沒有泄漏,去掉了傳統水泵的滾動軸承,使用浸漬樹脂石墨軸承,通過自身泵送的流體介質來進行潤滑軸承,使屏蔽泵的噪音更低。屏蔽泵具有結構緊湊、安裝便捷、性能可靠、低噪音無振動、零泄漏、使用年限長經久耐用等特點。屏蔽泵是立式單級單吸離心式,泵的進出口在同一水平軸線上,進出口徑規格相同能直接安裝在管路的任何部位上面,節省占地面積,拆卸與維修時比較便捷。電機的定子與轉子由各自的屏蔽套來進行封閉隔離。軸承使用泵送液體介質來進行潤滑與冷卻,液體會在電機中進行不斷循環,會對電機起到冷卻作用,又會對軸承起到潤滑作用。屏蔽泵設有底座可以直接安裝在地基上面,也能帶聯接板加裝隔振器。
	綜上所述屏蔽泵結構解剖圖及結構特點由離心泵廠家總結,屏蔽式管道泵適用于冷水機組、區域制冷、生產車間等。推薦閱讀:屏蔽泵的種類和用途


 102型、103型、104型、105型塑料離心泵
102型、103型、104型、105型塑料離心泵 FS型玻璃鋼離心泵
FS型玻璃鋼離心泵 PF型強耐腐蝕化工離心泵
PF型強耐腐蝕化工離心泵
